| ƾ´Ë¼¼Êõ¶À²½ÌìÏ£¬ÖйúÇýÖð½¢ÀäÈȹ²¼Ü´¹·¢ÏµÍ³ÕýÊ½ÆØ¹â |
| Ëͽ»Õß: 2018Äê01ÔÂ21ÈÕ07:07:09 ÓÚ [ÊÀ½ç¾üÊÂÂÛ̳] ·¢ËÍÇÄÇÄ»° |
|
|
|
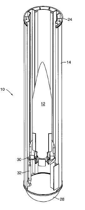
¡¡½üÈÕ£¬ÔÚij΢²©´óVµÄ·¢²¼ÖÐ͸¶ÁË052DÀäÈȹ²¼Üͨ´¹µÄ²¼¾Ö²¢Õ¹ÏÖÁËÏà¹ØÍ¼Æ¬£¬ÕâÒ²ÔÙ´ÎÖ¤Ã÷ÁË052DÊDzÉÓõÄÀäÈȹ²¼ÜͨÓô¹·¢ÏµÍ³¡£ ¡¡¡¡Àä·¢ÉäµÄ052DÇýÖð½¢Ç°²¿´¹·¢µ¥Ôª ¡¡¡¡¾ÝÏà¹ØÎÄ×Ö͸¶£¬052D²ÉÓõÄÊÇÀäÈȹ²¼ÜͨÓô¹·¢ÏµÍ³ÖеÄÖÐÐÍÐͺţ¬¾ÝϤ£¬¸ÃÀäÈȹ²¼Üͨ´¹ÏµÍ³£¬ÆäÒ»¸öÄ£¿éÓÐ8¸öµ¥Ôª£¬Ã¿¸öµ¥ÔªÖ±¾¶×î´ó0.85Ã×£¬´óÐÍÐͺÅÐÍÉî9Ã×£¬ÖÐÐÍÐͺÅÐÍÉî7Ã×£¬Ð¡ÐÍÐͺÅÐÍÉî3.3Ã×£¬¿ÉÈÝÄÉ1~4öµ¼µ¯£¬ÓÃÓÚ·À¿Õ¡¢·´Ç±¡¢·´½¢ºÍ¶Ô½¹¥»÷£¬Ò²¿ÉÒÔÓÃÓÚδÀ´µÄ·´µ¼µ¼µ¯µÄ·¢Éä¡£ ¡¡¡¡ÈÈ·¢ÉäµÄ052DÇýÖð½¢Ç°²¿´¹·¢µ¥Ôª ¡¡¡¡¶øÔÚ052DÉÏ£¬²¼Öõĸñ¾ÖÊÇǰ32µ¥Ôª¼Óºó32µ¥Ôª£¬¹²¼Æ64¸öµ¥Ôª£¬ÔÚǰ32µ¥ÔªÖУ¬Ç°²¿16µ¥Ôª²¼ÖõÄÊǺ£ºìÆì9BÔ¶³Ì·À¿Õµ¼µ¯£¬ºóÃæµÄ16µ¥Ôª²¼ÖõÄÊÇÓ¥»÷18·´½¢µ¼µ¯£¬¶øÔں󲿵Ä32µ¥ÔªÖÐĿǰ²¼ÖþùΪº£ºìÆì9BÔ¶³Ì·À¿Õµ¼µ¯£¬¹²ÓÐ48µ¥Ôª²¼Ö÷À¿Õµ¼µ¯£¬µ±È»ÔÚÕâ48µ¥ÔªÖУ¬Ò²¿ÉÒÔ²¼ÖÃPL-12¶Ô¿Õµ¼µ¯µÄ½¢¿Õ°æ»òÕߺ£ºìÆì16BÖгÌÇøÓò·À¿Õµ¼µ¯£¬¾Ý²Â²â£¬ÔÚ²ÉÓÃÖг̷À¿Õµ¯µÄ²¼¾ÖÏ£¬ÆäÓпÉÄܲÉÓÃÒ»¸öµ¥Ôª¶àöÖгÌÇøÓò·À¿Õµ¼µ¯µÄ²¼Öá£Í¬Ê±ÔÚ²ÉÓú£ºìÆì9B·¢Éäʱºò²ÉÓõÄÓ¦¸ÃÊÇÀä·¢ÉäͲ·¢É䷽ʽ£¬¼´²ÉÓøßѹ¿ÕÆø½«·À¿Õµ¯Éä³ö²Ö£¬È»ºóÔÚÒ»¶¨¸ß¶Èµã»ð¸ú×ÙÄ¿±ê²¢×îÖÕ»÷ÂäÄ¿±êµÄ·½Ê½£¬ÕâÒ²ÊǶíÂÞ˹Àï·òMÔ¶³Ì½¢¿Õµ¼µ¯µÄ·¢Éäģʽ¡£ ¡¡¡¡Öйúº£¾ü055ÐÍÍò¶Ö´óÇý´¹·¢Ò²½«ÊÇÀäÈȹ²´æ ¡¡¡¡¸Ã¿îͨ´¹µÄ´óÐͰæÓÃÓÚÖйúĿǰ×î´óµÄÔÚ½¨ÇýÖð½¢055ÐÍÈк£¼¶Íò¶Ö´óÇý£¬¾ÝÐÅ£¬´óÐͰæÒ²¿ÉÒÔ·¢ÉäδÀ´µÄ·´µ¼µ¼µ¯£¬¼´ÀàËÆÓÚÃÀ¹ú±ê×¼-3·´µ¼µ¼µ¯µÄϵͳ¡£¾Í´óÐͰæÀ´Ëµ£¬¿ÉÒԲο¼µÄÓÐÃÀ¹ú×îеÄMK57ϵͳºÍ¹ýÍùµÄMK41ϵͳ¡£ ¡¡¡¡²Â²â052DÉÏ´¹·¢µ¥Ôªµ¼µ¯·Ö²¼Í¼ ¡¡¡¡MK-57ϵͳÓÃÓÚÃÀ¹úн¨µÄDDG-1000ÖìÄ·ÎÖ¶ûÌØ¼¶Íò¶Ö´óÇý£¬Ôڸü¶ÇýÖð½¢ÉÏ£¬¹²²¼ÖÃÁË80¸öMK-57´¹·¢µ¥Ôª£¬¸Ã·¢Éäϵͳÿ¸öÄ£¿éÖØ15.24¶Ö£¬³¤4.33m£¬¿í2.29m£¬¸ß¶È7.925m£¬Ã¿¸öÄ£¿éÓÐËĸö·¢Éä¾®µ¥Ôª£¬µ¥Ò»µ¼µ¯¾®µ¥ÔªÎª71ÀåÃ×£¬Éî¶È7.19Ã×£¬Ä¿Ç°MK-57Ö÷ÒªÓ¦ÓÃÓÚDDG-1000£¬ÕâÊÇĿǰÃÀ¹ú×î´óµÄ´¹·¢ÏµÍ³£¬½ö´ÎÓÚÖйúµÄÀäÈȹ²¼ÜͨÓô¹·¢ÏµÍ³¡£¾ÍMK-57ϵͳ¶øÑÔ£¬Æä¿ÉÒÔÁÐ×°ÃÀ¹úÏÖÒÛ¸÷¿î·À¿Õ£¬·´µ¼£¬·´½¢¼°¶Ô½¹¥»÷µ¯Ò©£¬ÔÚ´Ë֮ǰ£¬ÃÀ¹úʹÓõÄÖ÷ÒªÊÇMK41´¹·¢ÏµÍ³¼°MK-48ÇáÐÍ´¹·¢ÏµÍ³¡£ ¡¡¡¡MK-57´¹·¢ÏµÍ³ÓÃÓÚÃÀ¹úн¨µÄDDG-1000ÖìÄ·ÎÖ¶ûÌØ¼¶Íò¶Ö´óÇý ¡¡¡¡MK-41Ϊ°Ëµ¥ÔªÒ»¸öÄ£¿é,ÿ¸öµ¥ÔªÖ±¾¶Îª635ºÁÃ×,³¤¶ÈÓÐ5.79mºÍ6.71mºÍ7.70Ã×ÈýÖÖ,·Ö±ðΪMK13&14&15ÈýÖÖ´¢ÔËÏ䣬ÔÚESSM±±Ô¼º£Âéȸ¸Ä½øÐ͵ݲװÉÏ£¬Ò»¸öµ¥Ôª¿ÉÒÔ°²×°ËÄöESSMµ¼µ¯£¬Ëùνһ¿ÓËĵ¯¾ÍÓɴ˶øÀ´£¬´ËÍâMK-41»¹¿ÉÒÔ°²×°±ê×¼2ϵÁÐÔ¶³Ì·À¿Õµ¼µ¯ºÍ±ê×¼3ϵÁз´µ¼µ¼µ¯£¬¼°Õ½¸«½¢ÔذæÑ²º½µ¼µ¯£¬Æä¿ÉÒÔ¶Ô½¢¡¢¶Ô½·¢Æð¹¥»÷¡£ ¡¡¡¡ÃÀ¹úµÄMK41ÈÈ´¹·¢ ¡¡¡¡MK-48ΪÇáÐÍ´¹·¢ÏµÍ³£¬½ö¿É·¢É亣ÂéȸϵÁзÀ¿Õµ¼µ¯£¬Ò»°ã×°ÓÚ½¢ÉíÖв¿Éϲ㽨ÖþµÄÁ½²à¡£ ¡¡¡¡³ý´ËÖ®Í⣬»¹ÓÐÅ·ÖÞµØÆ½ÏßÇý»¤½¢¼Æ»®ÓÃÓÚ·¢Éä×ÏÝÒ15/30µÄϯ¶ûÍß´¹·¢ÏµÍ³£¬Ä¿Ç°ÔÚ·¨¹úµØÆ½ÏßÇýÖð½¢ÉÏ×î³£ÓõÄϯ¶ûÍßA50ÐÍ£¬×ÏÝÒ15ÓÃÓÚÖнü³Ì·À¿Õ£¬×ÏÝÒ30ÓÃÓÚÔ¶³Ì·À¿Õ¡£´ËÍ⣬·¨¹ú»¹ÕýÒÔ¡°Ï¯¶ûÍß¡±ÏµÍ³Îª»ù´¡£¬ÑÐÖÆÒ»Öּȿɷ¢Éä¡°×ÏÝÒ¡±ÓÖ¿É·¢Éä×îÐÂÑÐÖÆµÄSCALPº£¾üÐÍѲº½µ¼µ¯µÄͨÓô¹Ö±·¢Éäϵͳ¡£ ¡¡¡¡Å·ÖÞµØÆ½ÏßÇý»¤½¢·¢Éä×ÏÝÒ15/30µÄϯ¶ûÍß´¹·¢ÏµÍ³ ¡¡¡¡¶íÂÞ˹½üÀ´µÄ´¹·¢ÎäÆ÷·¢Õ¹Ò²Ò쳣ѸÃÍ£¬ÆäÑÐÖÆÁË×îеÄÀä·¢ÉäÐͳµÀÌØ½¢¶Ô¿Õµ¼µ¯ÏµÍ³£¬¸ÃϵͳÊÇÓɽ»ù·À¿Õµ¼µ¯S-400ÑÜÉú·¢Õ¹¶øÀ´£¬Æä´¹·¢ÏµÍ³¿ÉÒÔ·¢ÉäÔ¶³ÌµÄ48N6¡¢ÖгÌ9M96ºÍ½ü³ÌµÄ9M100·À¿Õµ¼µ¯£¬48N6ºÍ9M96¾ù²ÉÓÃÒ»¸öµ¥ÔªÒ»Ã¶µ¼µ¯·½Ê½£¬¶ø¶Ì³ÌµÄ9M100Ôò²ÉÓÃÒ»¸öµ¥ÔªËÄöµ¼µ¯µÄ²¼Öá£Ä¿Ç°9M96ÐÍÖг̵¯ºÍ9M100¶Ì³Ìµ¯ÓÃÓÚ20380ÊØ»¤¼¶»¤ÎÀ½¢¡£¶øÔ¶¡¢ÖС¢½ü³Ìµ¯¾ÝÅä×°µÄÔòÊôÓÚ¶íÂÞ˹22350Ð͸ê¶ûʲ¿Æ·ò¼¶»¤ÎÀ½¢¡£ ¡¡¡¡¶íÂÞ˹µÄÀä·¢ÉäÐͳµÀÌØ½¢¶Ô¿Õµ¼µ¯ÏµÍ³ ¡¡¡¡´ËÍ⣬¶íÂÞ˹»¹×¨ÃÅΪ¿Ú¾¶-N·´½¢µ¼µ¯¼°çÉÂêè§&²¼ÀĪ˹·´½¢Ñ²º½µ¼µ¯Éè¼ÆÁ˵¥¶ÀµÄ3S14U1Àä·¢Éäʽ°ËÁª×°´¹Ö±·¢ÉäÆ÷£»²¢½«Æä²¼ÖÃÓÚ±©Í½M1¼¶ÇáÐÍ»¤ÎÀ½¢ºÍ³ö¿ÚÓ¡¶ÈµÄ11356MÐÍ»¤ÎÀ½¢£¬¼°22350ÐÍ»¤ÎÀ½¢£¬ÔÚ22350ÐÍÉϹ²²¼ÖÃÁËÁ½Ì×Ä£¿é£¬16¸öµ¥ÔªµÄ3S14U1´¹·¢ÏµÍ³¡£ ¡¡¡¡¿ÉÄÜÓÃÓÚ052DÉÏ´¹·¢µ¼µ¯Ôص¯µÄ·½Ê½ ¡¡¡¡×ܵÄÀ´¿´£¬Ä¿Ç°ÎÒ¹úµÄÀäÈȹ²¼ÜµÄͨÓô¹·¢ÏµÍ³£¬¶Ôµ¼µ¯µÄ¼æÈÝÐÔºÍÊÊÅäÐÔ×îºÃ£¬³ß´ç¿ç¶ÈÒ²×î´ó£¬ÏàÐÅ£¬Æä½«Åä×°ÖйúÐÂÒ»´úÇý»¤½¢£¬³Û³ÒÔÚÍòÀﺣ½®Ö®ÉÏ£¬ÏÔʾ×ÅÖйú¾ü¹¤È˵ÄÖǻۺͲŻª£¡ |
|
|
![]() |
![]() |
| ʵÓÃ×ÊѶ | |
|
|
| Ò»Öܵã»÷ÈÈÌû | ¸ü¶à>> |
| Ò»Öܻظ´ÈÈÌû |
| ÀúÊ·ÉϵĽñÌ죺»Ø¸´ÈÈÌû |


